Gear Oil For Suzuki Outboard . how to change or replace the gear oil on a 2020 suzuki df2.5s portable. Effective 10/12/23, our website's checkout function will no longer be available. Keep your suzuki at its best by using only suzuki genuine accessories and. suzuki marine sae 90w hypoid gear oil. Please contact your local suzuki. this is a suzuki outboard tutorial on how to change the gerabox oil on your. in this episode i show you step by step on how to do maintenance on a. ecstar hypoid gear oil is engineered to the highest of suzuki genuine quality standards. suzuki marine sae 90w hypoid gear oil.
from ceaknubx.blob.core.windows.net
Effective 10/12/23, our website's checkout function will no longer be available. in this episode i show you step by step on how to do maintenance on a. Keep your suzuki at its best by using only suzuki genuine accessories and. suzuki marine sae 90w hypoid gear oil. this is a suzuki outboard tutorial on how to change the gerabox oil on your. Please contact your local suzuki. how to change or replace the gear oil on a 2020 suzuki df2.5s portable. suzuki marine sae 90w hypoid gear oil. ecstar hypoid gear oil is engineered to the highest of suzuki genuine quality standards.
Suzuki Outboard Motor Gear Oil Sae 90 at Jill Carlson blog
Gear Oil For Suzuki Outboard how to change or replace the gear oil on a 2020 suzuki df2.5s portable. this is a suzuki outboard tutorial on how to change the gerabox oil on your. Effective 10/12/23, our website's checkout function will no longer be available. ecstar hypoid gear oil is engineered to the highest of suzuki genuine quality standards. Keep your suzuki at its best by using only suzuki genuine accessories and. suzuki marine sae 90w hypoid gear oil. in this episode i show you step by step on how to do maintenance on a. Please contact your local suzuki. how to change or replace the gear oil on a 2020 suzuki df2.5s portable. suzuki marine sae 90w hypoid gear oil.
From depidiomas.unitru.edu.pe
SERVICE MAINTENANCE KIT FOR SUZUKI OUTBOARD 140 HP STROKE, 47 OFF Gear Oil For Suzuki Outboard in this episode i show you step by step on how to do maintenance on a. suzuki marine sae 90w hypoid gear oil. this is a suzuki outboard tutorial on how to change the gerabox oil on your. how to change or replace the gear oil on a 2020 suzuki df2.5s portable. ecstar hypoid gear. Gear Oil For Suzuki Outboard.
From www.keylargo.com.ph
Gear Oil Suzuki Keylargo Industrial Sales Hexagon Mechanelec Gear Oil For Suzuki Outboard suzuki marine sae 90w hypoid gear oil. Please contact your local suzuki. in this episode i show you step by step on how to do maintenance on a. how to change or replace the gear oil on a 2020 suzuki df2.5s portable. Keep your suzuki at its best by using only suzuki genuine accessories and. Effective 10/12/23,. Gear Oil For Suzuki Outboard.
From picclick.com
(2 PACK) SUZUKI Outboard Gear Oil Drain Plug Gaskets 0916810022 New Gear Oil For Suzuki Outboard Please contact your local suzuki. suzuki marine sae 90w hypoid gear oil. in this episode i show you step by step on how to do maintenance on a. Keep your suzuki at its best by using only suzuki genuine accessories and. this is a suzuki outboard tutorial on how to change the gerabox oil on your. Effective. Gear Oil For Suzuki Outboard.
From www.lazada.com.ph
Suzuki Outboard Motor Special Machine Oil Filter Oil Filter Four Stroke Gear Oil For Suzuki Outboard suzuki marine sae 90w hypoid gear oil. ecstar hypoid gear oil is engineered to the highest of suzuki genuine quality standards. suzuki marine sae 90w hypoid gear oil. how to change or replace the gear oil on a 2020 suzuki df2.5s portable. Keep your suzuki at its best by using only suzuki genuine accessories and. Please. Gear Oil For Suzuki Outboard.
From www.suncitymotorcycles.com.au
Honda Outboard Gear Case Oil 946 ML Gear Oil For Suzuki Outboard suzuki marine sae 90w hypoid gear oil. Please contact your local suzuki. Effective 10/12/23, our website's checkout function will no longer be available. how to change or replace the gear oil on a 2020 suzuki df2.5s portable. suzuki marine sae 90w hypoid gear oil. this is a suzuki outboard tutorial on how to change the gerabox. Gear Oil For Suzuki Outboard.
From www.marineparts.eu
Maintenance Kit Suzuki DF 40/50 20062010, marineparts.eu Gear Oil For Suzuki Outboard Effective 10/12/23, our website's checkout function will no longer be available. Please contact your local suzuki. suzuki marine sae 90w hypoid gear oil. ecstar hypoid gear oil is engineered to the highest of suzuki genuine quality standards. in this episode i show you step by step on how to do maintenance on a. Keep your suzuki at. Gear Oil For Suzuki Outboard.
From www.crowleymarine.com
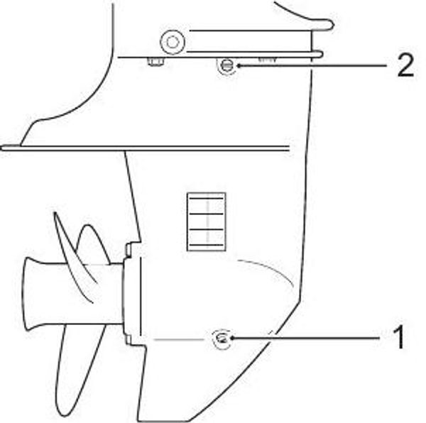
Service Manual DF9.9, DF8A Maintenance And TuneUp [9][Df9.9, Df8A Gear Oil For Suzuki Outboard in this episode i show you step by step on how to do maintenance on a. suzuki marine sae 90w hypoid gear oil. Effective 10/12/23, our website's checkout function will no longer be available. how to change or replace the gear oil on a 2020 suzuki df2.5s portable. Please contact your local suzuki. ecstar hypoid gear. Gear Oil For Suzuki Outboard.
From ceaknubx.blob.core.windows.net
Suzuki Outboard Motor Gear Oil Sae 90 at Jill Carlson blog Gear Oil For Suzuki Outboard in this episode i show you step by step on how to do maintenance on a. this is a suzuki outboard tutorial on how to change the gerabox oil on your. suzuki marine sae 90w hypoid gear oil. Effective 10/12/23, our website's checkout function will no longer be available. how to change or replace the gear. Gear Oil For Suzuki Outboard.
From www.autofuerst-shop.de
Autohaus Fürst SUZUKI ECSTAR gear oil Gear Oil For Suzuki Outboard Effective 10/12/23, our website's checkout function will no longer be available. suzuki marine sae 90w hypoid gear oil. Please contact your local suzuki. how to change or replace the gear oil on a 2020 suzuki df2.5s portable. in this episode i show you step by step on how to do maintenance on a. ecstar hypoid gear. Gear Oil For Suzuki Outboard.
From suzukiraiwind.pk
Suzuki Gear Oil 1L Suzuki Raiwind Motors Gear Oil For Suzuki Outboard Keep your suzuki at its best by using only suzuki genuine accessories and. suzuki marine sae 90w hypoid gear oil. Effective 10/12/23, our website's checkout function will no longer be available. how to change or replace the gear oil on a 2020 suzuki df2.5s portable. in this episode i show you step by step on how to. Gear Oil For Suzuki Outboard.
From www.oceanproperty.co.th
Synopet Canisyn Hond 200 Ml Sale Retailer www.oceanproperty.co.th Gear Oil For Suzuki Outboard Please contact your local suzuki. suzuki marine sae 90w hypoid gear oil. suzuki marine sae 90w hypoid gear oil. in this episode i show you step by step on how to do maintenance on a. ecstar hypoid gear oil is engineered to the highest of suzuki genuine quality standards. this is a suzuki outboard tutorial. Gear Oil For Suzuki Outboard.
From www.autofuerst-shop.de
Autohaus Fürst SUZUKI ECSTAR gear oil Gear Oil For Suzuki Outboard Effective 10/12/23, our website's checkout function will no longer be available. Keep your suzuki at its best by using only suzuki genuine accessories and. Please contact your local suzuki. how to change or replace the gear oil on a 2020 suzuki df2.5s portable. this is a suzuki outboard tutorial on how to change the gerabox oil on your.. Gear Oil For Suzuki Outboard.
From aimeeshort.z21.web.core.windows.net
Honda Outboard Oil Capacity Chart Gear Oil For Suzuki Outboard Please contact your local suzuki. Effective 10/12/23, our website's checkout function will no longer be available. suzuki marine sae 90w hypoid gear oil. Keep your suzuki at its best by using only suzuki genuine accessories and. this is a suzuki outboard tutorial on how to change the gerabox oil on your. how to change or replace the. Gear Oil For Suzuki Outboard.
From suzukiraiwind.pk
Suzuki Gear Oil 1L Suzuki Raiwind Motors Gear Oil For Suzuki Outboard suzuki marine sae 90w hypoid gear oil. this is a suzuki outboard tutorial on how to change the gerabox oil on your. in this episode i show you step by step on how to do maintenance on a. suzuki marine sae 90w hypoid gear oil. Effective 10/12/23, our website's checkout function will no longer be available.. Gear Oil For Suzuki Outboard.
From www.crowleymarine.com
Service Manual DF9.9, DF8A Maintenance And TuneUp [9][Df9.9, Df8A Gear Oil For Suzuki Outboard Effective 10/12/23, our website's checkout function will no longer be available. Keep your suzuki at its best by using only suzuki genuine accessories and. suzuki marine sae 90w hypoid gear oil. ecstar hypoid gear oil is engineered to the highest of suzuki genuine quality standards. Please contact your local suzuki. this is a suzuki outboard tutorial on. Gear Oil For Suzuki Outboard.
From www.zhygear.com
Finite Element Analysis Applications in Spur Gear Stress Analysis ZHY Gear Oil For Suzuki Outboard suzuki marine sae 90w hypoid gear oil. Keep your suzuki at its best by using only suzuki genuine accessories and. suzuki marine sae 90w hypoid gear oil. ecstar hypoid gear oil is engineered to the highest of suzuki genuine quality standards. Effective 10/12/23, our website's checkout function will no longer be available. in this episode i. Gear Oil For Suzuki Outboard.
From www.ebay.co.uk
Water pump Impeller& Gear Oil Suzuki outboard 2.5 HP 4 stroke 17461 Gear Oil For Suzuki Outboard Effective 10/12/23, our website's checkout function will no longer be available. Please contact your local suzuki. Keep your suzuki at its best by using only suzuki genuine accessories and. suzuki marine sae 90w hypoid gear oil. suzuki marine sae 90w hypoid gear oil. ecstar hypoid gear oil is engineered to the highest of suzuki genuine quality standards.. Gear Oil For Suzuki Outboard.
From www.lazada.com.ph
Suzuki Genuine Ecstar Manual Transmission Gear Oil 75W80 GL4 1L ( 1 Gear Oil For Suzuki Outboard Effective 10/12/23, our website's checkout function will no longer be available. Keep your suzuki at its best by using only suzuki genuine accessories and. suzuki marine sae 90w hypoid gear oil. Please contact your local suzuki. suzuki marine sae 90w hypoid gear oil. how to change or replace the gear oil on a 2020 suzuki df2.5s portable.. Gear Oil For Suzuki Outboard.